Jovion Corporation of Boulder, USA, aims to develop and commercialize a device for extracting energy from the reservoir of "zero point energy" that has been shown to fill all of space.
The Jovion device would employ numerous Casimir cavities, which consist of closely spaced metal plates within which a range of electromagnetic modes are excluded due to quantization of the electromagnetic field. The harvested energy would be in the form of electromagnetic radiation and could in principle be converted directly into electrical power through the incorporation of solar cells. The inventors of the technology are Dr Garret Moddel, Professor in the Department of Electrical and Computer Engineering at the University of Colorado, and Bernard Haisch, president of Digital Universe Foundation.
The energy harvested would be in the form of electromagnetic radiation which could be converted into electrical power directly, assuming that by suppressing electromagnetic quantum vacuum energy at suitable frequencies a change will take place in the electron energy levels, resulting in the release of energy.

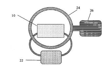
- item 10 - An array of parallel Casimir Channels with conducting strips
- item 22 - A pump for providing gas through the tunnels
- item 24 - something to capture the emitted energy - a heat sink
- item 26 - something to convert heat to electricity a thermal solar cell
Source: Jovion Corporation
One device using this principle would generate up to 20 kilowatts of heat from a sugar cube sized device and 50% or more of this heat could be converted to electricity using micro-gap thermal photovoltaics. Co-inventor Bernard Haish says that this is purely speculative at this point and nothing has so far been proved in the laboratory, but he feels it is worth pursuing. Major funding of around $10 million is required in order to carry out more sophisticated testing - the company having gone through $200 thousand in funding so far. The Jovion device was patented in May 2008.
Top Image: The Inventors Dr Garret Moddel (Source University of Colorado) and Bernard Haisch (Source Calphysics.org)
For more attend: Energy Harvesting and Storage Europe 2009.